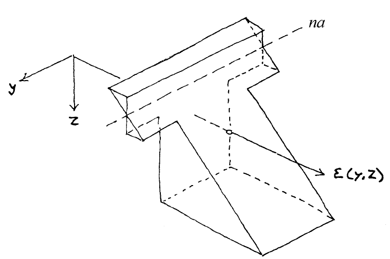
... for bending

Figure 2.7a Hartsuijker & Welleman (2007)
This is treated in chapter 4.2 of the book Engineering Mechanics Volume 2 Hartsuijker & Welleman, 2007.
- Hartsuijker, C., & Welleman, J. W. (2007). Engineering Mechanics: Volume 2: Stresses, strains and displacements. Springer Netherlands. 10.1007/978-1-4020-5763-2