... using differential equations

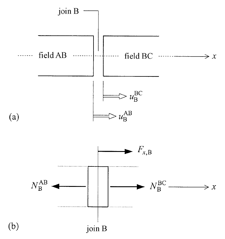
Figure 2.13 Hartsuijker & Welleman (2007)
This is treated in chapter 2.5 and 2.7 of the book Engineering Mechanics Volume 2 Hartsuijker & Welleman, 2007.
ExercisesΒΆ
- Exercises in chapter 2.9 of the book Engineering Mechanics Volume 2 Hartsuijker & Welleman, 2007, answers are available on this website: 2.47 - 2.50.
- Hartsuijker, C., & Welleman, J. W. (2007). Engineering Mechanics: Volume 2: Stresses, strains and displacements. Springer Netherlands. 10.1007/978-1-4020-5763-2